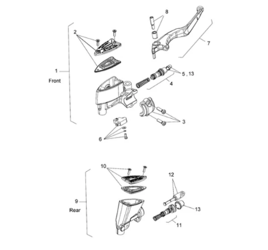
Набор для восстановления уплотнений переднего главного цилиндра [вкл. Пыльник, пружина] для INDIAN , VICTORY Octane арт 2206152 OEM Polaris

12700 руб.
В наличии
Этого товара или размера сейчас нет в наличии. Добавьте его в лист ожидания и мы сообщим, когда он поступит в продажу.
Артикул:
POL2206152